Look Up Design Patents
Find Early British Patents The British Library
How Long Does A Design Patent Last Answered Patent Rebel
Http Www Patbase Com Manual Pdf
How To Look Up Patents Patentprints Patentes
Protecting The Look Of A Product Design Patents Vs Trade Dress Intellectual Property United States
Basics Of Writing A Patent Claim For A Patent Application Patent Attorney Orange County Oc Patent Lawyer
Guy Who Makes Simple Caller Id App For Android Forced To Shut Down Due To Patent Threat Techdirt
Can You Patent Jewelry Answered Patent Rebel
How To Do A Design Patent Search 2019 Guide Bold Patents Law Firm
Sony Patent Hints At Unusual Playstation 5 Design
Everything You Need To Know About Design Patents Ionos
Design Patent Application Guide Uspto
Design Patents For Bits And Atoms Pnw Startup Lawyer
Patent Databases 11 Best Free And Paid Search Platforms Greyb
Epo Espacenet Patent Database With Over 120 Million Documents
Conduct A Design Patent Search Simply By An Image
Design Patent Search Design Search The Patent Search Firm
Nintendos Patent Could Turn Your Phone Into A Game Boy
How To Make Patent Drawings In Solidworks Engineers Rule
How To File For A Design Patent
How Much Does A Patent Cost Blueiron Ip
Google Patents Search A Definitive Guide By Greyb
How To Make Free Printable Patent Art Picture Box Blue
Https Encrypted Tbn0 Gstatic Com Images Q Tbn And9gcqenwopee Gdrdykywt3tupygreuiraofdyxkfonczi4lswzelb Usqp Cau
3 Most Common Types Of Patents And How To Get Them Funding Circle
Design Patent Application Guide Uspto
Https Encrypted Tbn0 Gstatic Com Images Q Tbn And9gctap1b0pi0zqoz4f5kctquay5hskjf9komljk30 Uegie 3bem Usqp Cau
Automating The Search For A Patent S Prior Art With A Full Text Similarity Search
Swipe To Patent Design Patents In The Age Of User Interfaces Techcrunch
Everything You Need To Know About Design Patents Ionos
Design Patent Search Design Search The Patent Search Firm
Taiwan Intellectual Property Office
4 Steps In The Patent Process Oc Patent Lawyer
How To Do A Design Patent Search 2019 Guide Bold Patents Law Firm
Design Patent Search Design Patent Lookup Prior Art Searchers Prior Art Searchers
How To File A Design Patent Application The Ultimate Video Guide Youtube
Intellectual Property Protection Trademark Registration Copyright Registration Provisional Patent Application Legalzoom
Https Encrypted Tbn0 Gstatic Com Images Q Tbn And9gcrxerasqvsoqsv0cymqx8z7xqcd Hswzxn2tltkndfodyjvlubj Usqp Cau
What Does China S Rise In Patents Mean A Look At Quality Vs Quantity St Louis Fed
How To Do A Trademark Search Before Choosing A Business Name Startingyourbusiness Com
Patent It Yourself Do It Yourself Legal Book Nolo
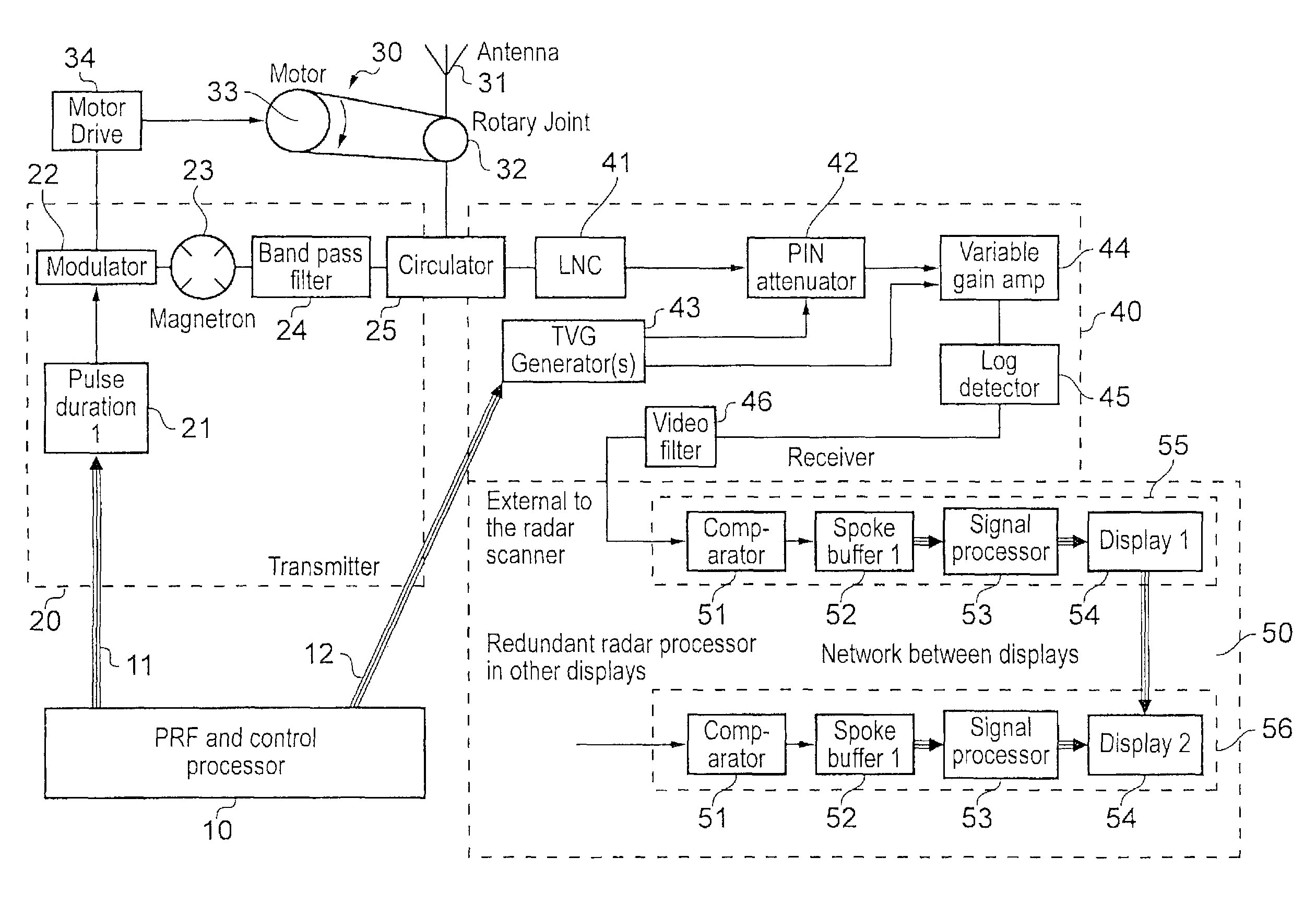
Analytics For Us Patent No 8624776 Digital Radar Or Sonar Apparatus
Amazon Patent Infringement What Is A Design Patent What Amazon Sellers Must Know
What Does China S Rise In Patents Mean A Look At Quality Vs Quantity St Louis Fed
3 Ways To Look Up Patent Numbers Wikihow
Design Patent Application Guide Uspto
Conduct A Design Patent Search Simply By An Image
15 Patents That Changed The World
Google Updates Patent Search Tool Inc Com
New Published Patent Designs Show A Different Look To The Upcoming Lg Vr Headset Vr News Games And Reviews
Https Encrypted Tbn0 Gstatic Com Images Q Tbn And9gcsq7emgsacdgugzrumrbc Ytdhtj7sbfhr6cefcur5xvdblpmzf Usqp Cau
Provisional Patent Example Real Life Examples
What Are The Parts Of A Patent Application Miller Ip Law
Dallas Invents 143 Patents Granted For Week Of Oct 20 Dallas Innovates
Design Patent Application Guide Uspto
How To Make Patent Drawings In Solidworks Engineers Rule
Geocoding Of Worldwide Patent Data Scientific Data
Patent Illustration Line Types Key Points Patent Illustration Express
Patent Number Searching Penn State University Libraries
Protecting The Look Of A Product Design Patents Vs Trade Dress Wolf Greenfield
The Patents Behind Basketball Sponsored Smithsonian Magazine
Low Cost Patent 1500 Utility Patent 300 Provisionals Get Cheap Inexpensive Affordable Usa Attorney Agent Lawyer Patent Drafting Patent Pending Patent Search Us Patent Application Filing Fee For Your Idea Product Invention Total Patent Cost
Utility Patent Vs Design Patent Everything You Need To Know
How To File A Patent In 8 Easy Steps Inc Com
Patent Databases 11 Best Free And Paid Search Platforms Greyb
Design Patents The Under Utilized And Overlooked Patent Ipwatchdog Com Patents Patent Law
Design Patent Search 7 Unconventional Ways To Perform Greyb
Brown Michaels How To Determine Patent Term
Searching For Patents Utility Models Designs Trademarks Japan Patent Office
How To Search For Patents Youtube
Swipe To Patent Design Patents In The Age Of User Interfaces Techcrunch
Sars Cov 2 Coronavirus And Patents Abg Intellectual Property
Design Patents The Under Utilized And Overlooked Patent Ipwatchdog Com Patents Patent Law
Searching For Patents Utility Models Designs Trademarks Japan Patent Office
3 Google Patents You Need To Know About In 2016
Council Post Design Patent Cost A Step By Step Guide
The Mechanics Of E A T How Google Patents Can Help Explain How E A T Works
Patent Search Are Provisional Patents Published
Search This Database For Inactive Patents That Are Now In The Public Domain Opensource Com
3 Latest Google Patents Of Interest October 13 2020
How To Protect Ui With Design Patents Bresslergroup
How Much Does A Patent Cost Legalzoom Com
How To Protect Ui With Design Patents Bresslergroup
Sony Patent Reveals New Design For Playstation 5 Or Ps4 Controller Business Insider
How To Get A Design Patent In The Usa Quora
2020 How Much Does A Patent Cost Cost To File Patent An Idea
Patent Search 101 Why A Us Patent Search Is Critically Important
Searching Patents And Trademarks Research Guides At University Of Wisconsin Madison
Apple Has Been Granted 9 Design Patents Covering Powerbeats Pro Earphones And Charging Case Patently Apple
Epo Espacenet Patent Database With Over 120 Million Documents
3 Ways To Look Up Patent Numbers Wikihow
/Patent.AdobeStock_151953014_Editorial_Use_Only-d3d84cdc788a498486b1d855a818ba33.jpeg)


